


与国内市场不太相同,美系车向来都是以“大”著称,大马力、大尺寸更是美系车引以为傲的代名词。
在这之中,凯迪拉克更是将这一理念贯穿到底。旗下的多款车型无论是轿车领域中的CT6还是SUV中的凯雷德、XT6,都给人一种气吞山河般的视觉效果。
固然这些车型在大尺寸以及大马力的加持下拥有着不错的口碑,但市场单一也成为了自身的束缚,为了强化细分市场的竞争力,凯迪拉克最近也是推出了一款全新车型。

日前,在工信部最新一批的新车申报目录中,凯迪拉克全新车型GT4进行了申报工作,这款车型是凯迪拉克继CT、XT系列车型之后的全新产品序列。
凯迪拉克GT4以代号E2QL的车型进行开发,定位为紧凑型SUV,并且整体造型采用了跨界SUV的设计理念,与我们所熟知的沃尔沃V60差不多。
具体来看,凯迪拉克GT4前脸处依旧采用了标志性的盾牌中网,内部辅以矩阵式点状结构进行填充,并与两侧狭长的分体式灯组相互连接,由此带来的视觉效果更加秀气。

修长的车身为轿跑式SUV的标志性元素,侧面线条从车头一直延伸至车尾,呈现出的视觉效果更显凌厉,加之车门下沿处的折痕处理,整车的立体感有所增强。
同时,在全新造型的轮毂设计以及车顶行李架的加持之下,凸显整车时尚感的同时也进一步呈现出了几分沉稳。

为了满足消费者的不同需求,新车在外观上还提供了两种外观套件可选,分别为豪华版以及运动版,其中运动版车型轮圈更大,搭配黑色车顶、黑色后视镜,整车更显激进。
尾部两侧的倒“L”形尾灯组通过一条贯穿饰条相连接,且豪华版与运动版的灯组也不相同,豪华版采用了红色刹车灯的设计,整体设计较为简洁。
运动版车型则采用了熏黑色的尾灯设计,且下方加装了彰显性能的双边双出排气布局,有效提升了整车的运动氛围。


身为一款具有SUV性质的跨界车型,凯迪拉克GT4的车辆接近角为15°,离去角为21°,这也使其能够轻松应对多种出行环境。
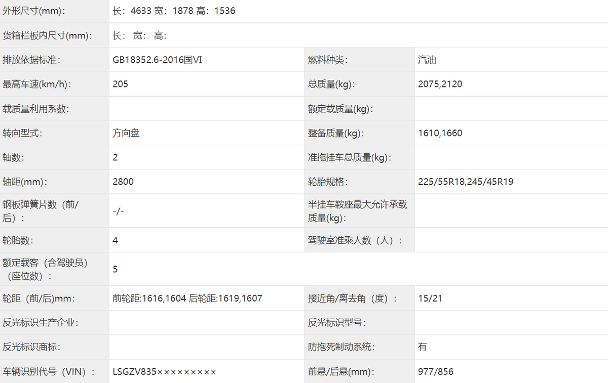
就尺寸来看,GT4的长宽高达到了4633/1878/1536mm,轴距2800mm,与XT4相比其在车长及轴距上各增加了33/21mm,高度上则降低了99mm,整备质量为1610Kg。
内饰表现如何目前尚未公开,但想必新车有很大概率将会参照凯迪拉克最近上市的纯电车型—锐歌的内饰布局。

与外观上的两种布局一样,凯迪拉克在整车的动力单元上也提供了两种不同的选择,分别为1.5T以及2.0T发动机。
其中1.5T发动机的最大功率为150千瓦(204马力),所对应的车型为豪华版,2.0T发动机的最大功率则为169千瓦(230马力),对应运动版车型。这两款发动机在通用E2XX平台下也是肩负重任的存在。
匹配的传动系统预计为自家的横置9AT,并且根据整车配置的不同GT4还将会提供前驱和四驱版车型可选,进一步增强了整车的市场竞争力。

根据目前的进度来看,凯迪拉克GT4预计将于2023年第一季度开售。至于整车的价格,大胆预测一波起售价将会在22万左右徘徊。毕竟根据凯迪拉克自身的定价体系来看,自家的CT4及XT4大多都徘徊在这一区间,作为新序列的入门车型,自然也要遵循这一规律。
不难发现,随着市场的逐渐年轻化,轿跑SUV在市场中的受欢迎程度也逐渐增高,而这一市场中目前还并无太多品牌入驻,豪华品牌更是没有几个。
而凯迪拉克GT4的推出不但完善了自家的产品矩阵,也抓住了“先手”的优势,加之其自身极具年轻化的设计以及优渥的尺寸,想要在这一市场取得成绩并不难。当然,倘若其在内饰布局上能够做到主流,其在市场中的表现力也将进一步增强。
“特别声明:以上作品内容(包括在内的视频、图片或音频)为凤凰网旗下自媒体平台“大风号”用户上传并发布,本平台仅提供信息存储空间服务。
Notice: The content above (including the videos, pictures and audios if any) is uploaded and posted by the user of Dafeng Hao, which is a social media platform and merely provides information storage space services.”